
“……3H開發了穴位熱療床,使人每天都能在床上讓脊柱穴位獲得熱穴和艾灸,從而增強了現代人的腰部健康和良好的睡眠。每天通過穴位指壓可以緩解繁忙的人們的慢性疲勞。”
“…… 通過穴位指壓熱療床來改善世界上對人類來說是最重要的部分, 就是床褥;而脊柱健康則在人體中起著重要的作用,它將有助於改善世界人民的健康。“


市面上充斥各種按摩保健的理療器材,琳瑯滿目,豐儉由人,而實際的保健效果則良莠不齊。在芸芸眾多的理療器材中,躺著按摩的理療床卻不多,尤其是在美國,更是鳳毛麟角。韓國3H公司製造的智能指壓理療床,匠心獨運,與眾不同,不僅在韓國屢獲殊榮,深得本國人民的愛戴,在東南亞,美國等地也是好評如潮。
韓國3H公司成功的秘訣是什麼?最重要的是公司以人本主義為主導,為人類帶來健康與快樂的信念和願景。一般的企業是以股東利益最大化為目標,他們的顧客也是以個人經濟效益為考慮。韓國3H公司成功之處,就是追求人類的健康快樂,產品研發的目的,就是要創造出高品質,高效率和高價值的理療器材,造福人類。 3H的顧客,同樣的以健康快樂為目的,所以互相間不止是製造商與消費者的關係,更是一種帶著深厚感情的關係。
為了人類健康快樂,3H研發獨特的垂直按摩裝置,早在2010年7月向韓國知識產權管理局申請專利,2012年4月獲得批准(註冊專利10-1136724),歷時1年半。按摩床的電熱床墊則在2016年2月獲得專利(註冊專利10-1614327)。

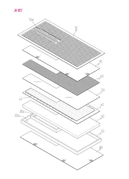
根據有關的註冊專利文憲,指壓按摩機件的設計有兩種,一種是整個按摩機件沿著脊柱移動,雖然這種設計構造簡單,製造容易,但是按摩範圍只是脊柱區域,沒法針對人體穴位,理療的效果大打折扣。而3H採用的設計,是個別的按摩棒上下移動,直接刺激脊柱兩側的重要穴位,打通經絡,理療效果更是勝人一籌。從機械工程來說,按摩機件設為一整體,驅動皮帶輪頻繁空轉,容易導致電動機超負荷,縮短了機械壽命。另外,零件之間的不斷摩擦,撞擊框架,產生噪音。 3H智能指壓按摩床的設計,是在驅動皮帶輪加上張力控制螺栓,並在上框架的基部設置有緩沖孔,解決了電動機超負荷的問題。指壓棒方面,用樹脂支撐管附接至按壓棒的連接軸,防止撞擊和減少零件碰撞產生的噪音,同時延長了機器的壽命。


理療床的電熱床墊也很講究,根據註冊專利文獻,傳統的電熱床墊有兩種。一種是把電熱線和裝置安裝在紡織物或者人造皮革的床墊,它的缺點是電熱範圍有局限性,而且時間久了床墊容易變形,電熱線受損,甚至可能出現安全問題。第二種是用玉石為床墊材料,床墊不會變形而且安全,但是成本非常昂貴,不是每個有需要的人有能力消費。3H發明的電加熱床墊,由膠合板製成,加上一層聚氨酯海綿,穩固耐用,解決了床墊變形的問題。聚氨酯海綿的上方是一層能量陶瓷,下方是耐熱層,安裝電熱線。整個床墊發熱均勻,安全可靠,而且容易安裝,與實木床架和按摩機件渾然一體。為了追求人類的健康快樂,韓國3H公司研發的智能指壓理療床,匠心獨運,思考周密,無論是理療效果,舒適度,安全性,耐用性和經濟價值,都是出類拔萃,確實是每個家庭必須擁有的健康寶床。